>FASTA_20
Finalspark's organoid matrix; Optical protein seq; CZI x IGI collab; Del Monte bankrupt; A beverage for PMS; GLP-1 competitor; TerRaNA; 67 AI drugs in clinical trials; soft robotics; Bio-complacency
>FASTA: weekly short reads of the global biotech ecosystem | Papers and patents, acquisitions and bankruptcies, biotech philosophy | Read in under 5 min | Follow on LinkedIn, X, and now Instagram too!
Pilgrim is proud to sponsor >FASTA! We’re developing the next generation of military medicine to meet the operational demands of modern warfare—moving beyond theory and bringing biotechnology from the benchtop to the battlefield.
1/10: Use FinalSpark’s brain organoid matrix
I’ve covered other biocomputing companies in the past. FinalSpark too has built a NeuroPlatform to use their brain organoids to run simulations remotely, with real-time neural stimulation and reading, data storage, and backup. Some researchers recently used it to simulate a 3D butterfly!
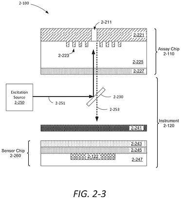
2/10: $50M for Quantum-Si’s optical prot-seq
Their benchtop equipment enables real-time kinetic-based single-molecule protein sequencing for barcoding, post-translational modification analysis, antibody sequencing, biomarker identification, LNP and AAV screening, etc.
They could be using the cash to keep developing Proteus, their novel optical protein sequencing platform. In this new device, each sample in a well is excited with light and emits energy that is directed to a sensor by a might “optical element” — No more semiconductors for protein seq either?
3/10: CZI x IGI collab
The Chan Zuckerberg Initiative is funding the Innovative Genomics Institute with USD $20M to establish the Center for Pediatric CRISPR Cures, where UC Berkeley will design and test base editing cures and UCSF will do clinical treatment for severe pediatric genetic diseases, starting with 8 patients.
“With all appropriate confidentiality considerations, the Center will ensure that data from all investigative new drug-enabling studies, regulatory documentation, and clinical trials is available to other U.S. academic centers in pediatric disease that wish to design and deploy their own CRISPR-based therapies for similar cases”.

4/10: Del Monte bankrupt.
A canned food company is not precisely top of mind for San Francisco companies. Well, the 139-year-old company which once became one of the main producers, distributors and marketers in the US, just filed for bankruptcy and is looking for a buyer — No more Pink piña? :(
Apart from the challenging macroeconomic environment, some people see this as a reflection of important changes in the American diet since the 70s as it relates to canned fruits and vegetables. According to the USDA, canned vegetables accounted for just 23% of total US vegetables available for consumption in 2019 (down from 30% five decades earlier) — American friends, would you agree?

5/10: A beverage for your period???
Beverages too, are in their wellness era. Prebiotic drinks are not enough, now we see brands that offer period and Premenstrual syndrome (PMS) relief with Omega-7-containing sea buckthorn, and other antioxidant and anti-inflammatory agents — Are they even biotech though?
While it’s true that sea buckthorn is one of the only plant sources for omega-7, and this fatty acid may inhibit inflammation, about half of the scientific papers the cycle cites on their website do not match the cited text they use. Disappointing.

6/10: $38M for GLP-1 competitor
Seeing the small intestine as the body’s nexus for metabolic control, digestion and drug absorption, Syntis makes oral therapies that address common diseases like obesity or diabetes as well as rare genetic disorders like homocystinuria.
Their daily oral pill, SYNT-101, creates a similar effect to gastric bypass, in which nutrient absorption is redirected from the proximal to the distal small intestine. In a 6-week first-in-human study, it produced consistent 1% weekly weight loss while preserving 100% of lean muscle mass — A strong GLP-1 competitor?
7/10: TerRaNA raises $50M
Founded by Flagship Pioneering in 2021, Terrana designs and manufactures RNA aimed at disease prevention, protection, yield boosting, and improvement of other traits; from the beginning of plant life cycle to post-harvest. They’ve demonstrated better applications in tomatoes, corn, and soy.
Congrats to them on the $50M round, but at some point, I’d love to write an article comparing all these Ag biotech products — particularly biofertilizers and RNAs — that have come out in the last five years. My Biopunk brain wishes there was some kind of competition so they could prove whose RNA vaccine can actually combat the deadliest pathogens, faster, or generate the greatest yields .
8/10: AI drugs are actually working
While some of us were asking what all of the techbio hype is good for, 67 AI-discovered molecules were in clinical trials, just by 2023. While most were still in Phase I, success rates are 80–90%, exceeding historical industry averages. Makes one wonder how different the whole pipeline, from target selection to manufacturing, will look in five years from now.
Could these simply be typical computational workflows rebranded as AI? A criterion used to determine which companies were AI-native companies was to use “AI” (whatever that is, lol) for at least one of 5 use cases: target discovery, repurposing, small molecule design and optimization, biologics design and optimization and vaccine design.
9/10: Daxo robotics
In some bio-adajecent things (let’s say it’s biomimicry), I’ve found this Daxo robotics company to be kinda cool: Ultra-Redundant Dexterous Robotic Hands to automate high-cost, high-mix, high-dexterity tasks that have been untouched by traditional robotics so far. Unlike rigid robotics, soft robotics offers theoretically infinite degrees of freedom — could this finally automate more tasks at the lab?
“We do not just borrow the human hand shape but also more fundamental principles of human muscle control. Compliance, redundancy, and proprioception are all built-in defaults. We achieved pen spinning the moment a second finger was built.”
10/10: Biotech complacency
The “Cost per Raw Megabase of DNA Sequence” graph has become the meme every biotech founder uses to tell investors our industry will be huge. Despite enabling countless innovations, short sequencing technologies monopolized by Illumina have come at the unintended cost of skewed interpretability.
Craig Venter’s article puts it crystal clear: when you layer short reads on a reference genome, allele-specific effects are lost by collapsing maternal and paternal alleles, generating a non-existing in nature sequence that obscures and complicates variant interpretation.
Another important point he makes is the missing phenotypic data to match to DNA. After screening close to 10,000 individuals, not one single APOE heterozygote had any Alzheimer’s indications and 20% of homozygotes, including some in their mid 90’s also had no Alzheimer’s indications.
Insights like this could only be distilled by a curious newbie or a genius like Craig. As the former, I used to ask questions like “why the hell can’t we just sequence the full human genome in one go instead of using all these reads? How do you get the actual map with all these overlaps?”. So you ask the midwit experts, who tell you that’s just the way it is, that anything else is “impossible”.
Biopunk exists to inspire the world’s biotechnologists to practice a #DifferentWayOfGrowing, and to help people from all kinds of backgrounds create new things with biology. To both curious newbies and basic Biotech CEO’s (jk!), I say: ask more stupid questions, for they’re the only good questions.










🐐